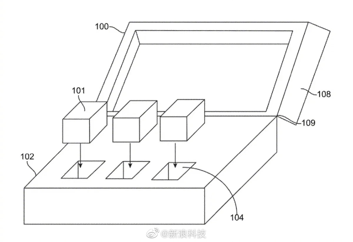
【#苹果无线充电配件盒新专利#:为使用不同标准的无线充电器定制配件盒】根据美国商标和专利局公示的清单,苹果公司近日获批了编号为US 20230080598 A1新专利。该专利主要为各种类型的无线充电器制造配件盒。
据了解,苹果公司所设计的这款配件盒可以容纳一种或者多种类型无线充电器,在内部通过磁性连接等方式连接,可以给数码设备进行充电。用户只需要将iPhone等手机或者AirPods等耳机放在充电盒的指定位置,就能给使用不同标准的产品进行无线充电。(IT之家)

【#苹果无线充电配件盒新专利#:为使用不同标准的无线充电器定制配件盒】根据美国商标和专利局公示的清单,苹果公司近日获批了编号为US 20230080598 A1新专利。该专利主要为各种类型的无线充电器制造配件盒。
据了解,苹果公司所设计的这款配件盒可以容纳一种或者多种类型无线充电器,在内部通过磁性连接等方式连接,可以给数码设备进行充电。用户只需要将iPhone等手机或者AirPods等耳机放在充电盒的指定位置,就能给使用不同标准的产品进行无线充电。(IT之家)
